racknerd最近新增了洛杉矶第三个数据中心(LA DC03)的业务,实际上也就是colocrossing的洛杉矶机房,racknerd依旧还是主打VPS,采用低价测评,KVM虚拟、SSD raid10阵列、1Gbps带宽、solusvm管理、自带一个IPv4(不支持IPv6)… 那么racknerd的LA DC03到底怎么样?是否适合国内三网大环境下使用?相对原来的洛杉矶DC02(MULTACOM)是否有优势?主机测评带来了详细的测评数据,仅供参考。

官方网站:https://www.racknerd.com
加密货币、信用卡、PayPal、支付宝等多种付款方式!
#消息# RackNerd后台新增用户自主一键切换IPv4功能
详细便宜VPS列表:https://www.zhujiceping.com/50572.html
服务器CPU型号为e5-2699v4,通常用双路(44核、88线程、主频2.2GHz、加速频率3.6GHz),启用了BBR,不支持IPv6,上游为hostpapa也就是colocrossing的母公司,归属地美国洛杉矶,当前I/O大致514MB/S:
FIO进行数据读写测试,大致情况如下:
国内三网多节点的带宽上下行测试,白天的数据如下:
再看看国内晚高峰期间的测试数据:
存放在测试VPS上的文件,广州联通家宽直接用Chrome下载该文件,大致的下载速度如下:
再对比看看晚高峰期间的下载速度:
晚高峰,广东江门移动,下载速度:
晚高峰,四川眉山联通,下载速度:
晚高峰,湖北襄阳电信,下载速度:
speedtest.Net的部分亚洲节点的实测数据:
speedtest.Net的部分全球节点的实测数据:
iperf3的部分国际节点的测试数据:
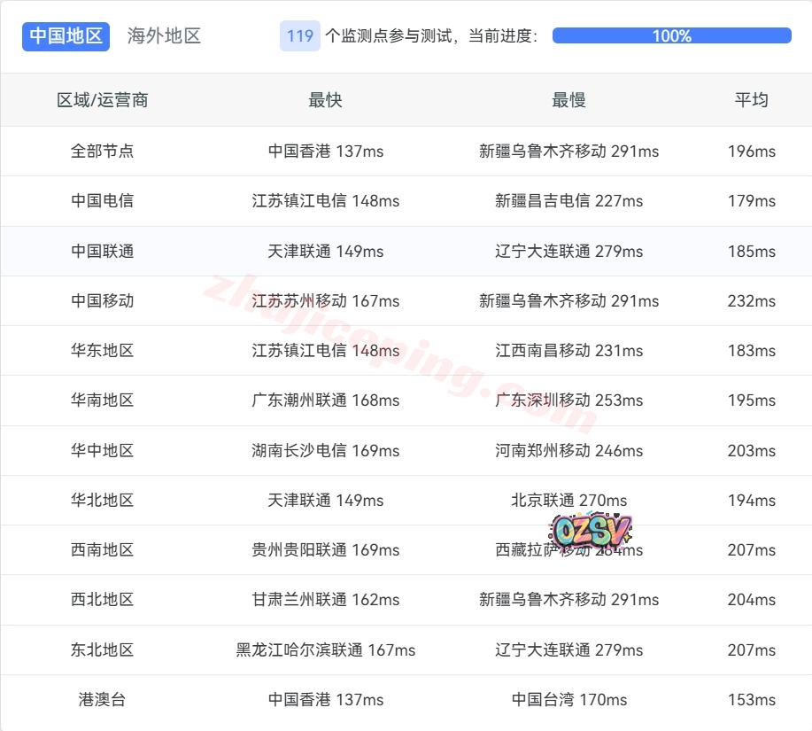
国内三网多节点的延迟测试数据:
电信去程:直连电信美国洛杉矶节点然后接twelve99去机房
联通去程:直连联通美国洛杉矶节点然后接cogent去机房
移动去程:直连移动美国圣何塞节点然后接cogent去洛杉矶
电信回程:走cogent经过圣何塞/圣克拉拉出海回国
联通回程:
北京方向:走twelve99从美国东海岸出海去法国再去德国,从联通德国法兰克福节点直连回国
上海方向:走twelve99接联通与twelve99在洛杉矶的peer出来再出海回国
广州方向:走twelve99直接出海回国
移动回程:
北京方向:从移动与twelve99的peer出来接移动洛杉矶CMI然后去移动旧金山CMI然后直接出海回国
上海方向:twelve99转移动洛杉矶CMI节点直连回国
广州方向:twelve99去圣何塞/西雅图,从移动与telia在西雅图的peer出来接移动西雅图CMI直连回国
IP大致性质的判断,美国原生IP:
部分流媒体解锁测试:
VPS性能测试,部分数据如下:
大致总结下:
母鸡负载不低,性能还可以;
网络方面,国内三网直连西海岸然后接国际线路去机房;回程电信是纯国际线路回国、联通部分还绕道了欧洲、移动基本上是国际线路出来接移动在西海岸的peer/POP之类的直连回国。所以,整体来说这个就移动的回程路由稍微好一点… 但是实际移动的晚高峰效果又不理想…























































暂无评论内容