cloudserver.net这两三年出现在大家眼前之所以被关注可能还是因为其促销款的VPS的价格实在是有较高的性价比(配置高、价格低)。没有过多的介绍,基本上出现就是促销,成立也就是3年的样子,那么cloudserver.net到底怎么样呢?是否适合国内使用?主机测评弄了个洛杉矶的最低端的VPS给大家做个测试,测评数据仅供参考!
关于促销款VPS,大家戳这里查看:
https://www.zhujiceping.com/60281.html
CPU型号未知,盲猜是e5吧,站长启用了BBR,IP归属在美国,当前硬盘I/O大致是462MB/S的样子:
FIO继续测试硬盘读写:
speedtest.net在国内的三网节点跑一圈,看看上下行可以冲到多少吧?
同样的测试数据,时间段是晚高峰:
继续跑speedtest,国际部分节点:
speedtest,亚洲区域内的节点:
iperf3,几个欧美节点的测试效果:
存放在测试小鸡上面的文件,广州电信家庭带宽,下载速度:
继续看下载,晚高峰时间段的,广州电信这会儿炸稀烂了:
晚高峰,湖北十堰电信,下载速度还凑合:
晚高峰,四川眉山联通,下载速度也炸了:
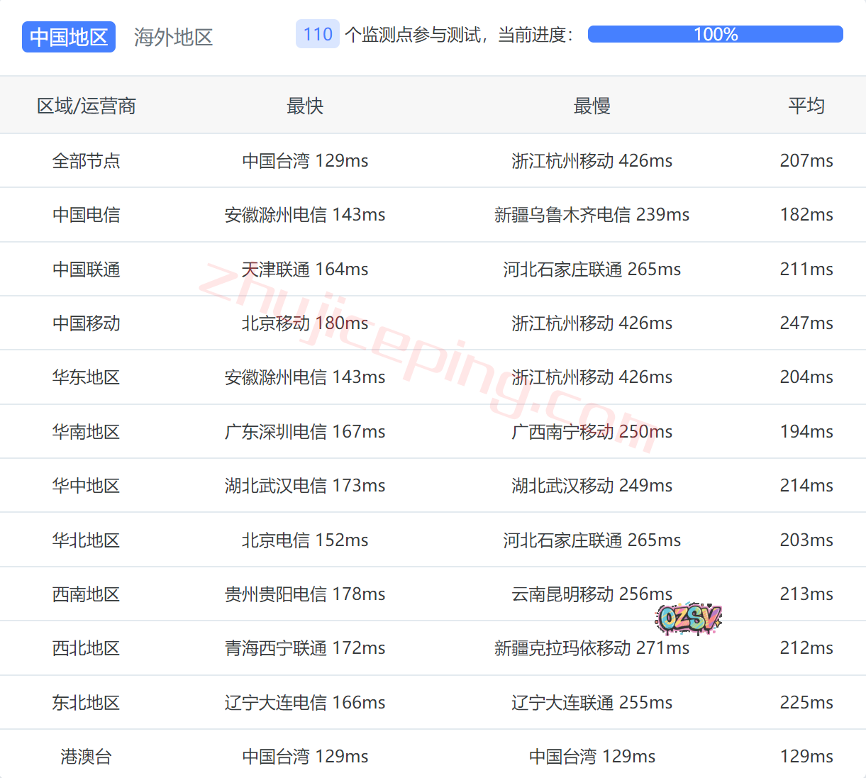
国内三网多个节点的延迟测试数据如下:
电信去程:直连电信圣何塞节点后转cogent去洛杉矶
联通去程:直连联通洛杉矶节点后走cogent去机房
移动去程:直连移动圣何塞节点后走cogent去洛杉矶
电信回程:
北京/广州方向:从电信与telia在洛杉矶的pop出来直连回国
上海方向:走cogent去圣何塞出海接电信回国
联通回程:
北京方向:走telia从东海岸出去到德国,从联通法兰克福节点直接回国
上海方向:从联通与telia在洛杉矶的pop出来直连回国
广州方向:走telia直接从洛杉矶出海回国
移动回程:
北京方向:从移动与telia在洛杉矶的pop出来直连回国
上海方向:从移动洛杉矶节点直连回国
广州方向:走telia从圣何塞出来回国
tiktok流媒体解锁:美国区域
部分跨区域的流媒体解锁测试:
北美部分流媒体解锁测试结果:
VPS性能测试,部分参数:
大致总结下:
目前来看,VPS性能还不错,至少属于个中等偏上的阶段吧;
网络这块儿来看,三网都有部分直连回国的,也有部分走国际BGP线路的,所以存在部分人效果好,部分人可能效果差!






















































暂无评论内容