dedipath在美国中部达拉斯有自己的数据中心,运作着达拉斯的VPS和独立服务器业务,默认都是1Gbps带宽,不限制流量…dedipath的达拉斯效果怎么样?是否适合国内的网络环境?欢迎随着主机测评的测评文章来一起看看实测数据。本次测评,数据仅供参考!
商家已经跑路了,请去其他商家买机器吧!
需要美国独立服务器(常规、大带宽、高防、站群)?
推荐几个参考的商家:
https://www.zhujiceping.com/56547.html
https://www.zhujiceping.com/66033.html
https://www.zhujiceping.com/59573.html
https://www.zhujiceping.com/64839.html
https://www.zhujiceping.com/45110.html
https://my.iwebfusion.net/cart.php?gid=450036
官方网站:https://dedipath.com
默认CPU是e5-2670,主频2.6GHz,IP归属美国洛杉矶,启用了BBR,当前硬盘I/O大致233MB/S的样子:
FIO继续测试硬盘读写数据,大致结果:
跑一圈speedtest.net在国内的三网节点,看看上下行能跑到什么样子,大致数据:
同样的测试,继续看晚高峰的数据结果:
speedtest部分国际节点,包括了欧美亚非:
speedtest亚洲区域内的节点的测试结果:
iperf3测试几个欧美节点的大致数据:
iperf3测试欧美节点,不过这次是IPv6环境下:
存放在测试小鸡上面的文件,广州电信家庭带宽直接下载,看看速度吧:
继续测试下载速度,看看晚高峰期间的实际效果:
晚高峰,湖北十堰电信,下载速度:
晚高峰,四川眉山联通,下载速度:
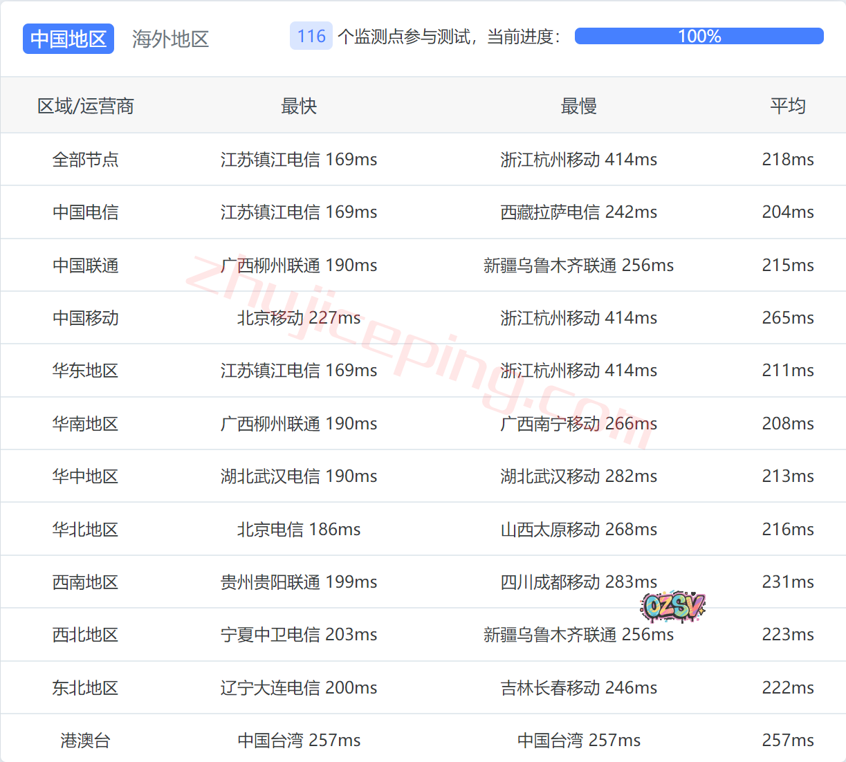
国内三网多个节点的延迟测试数据:
电信去程:直达电信圣何塞节点,然后转telia从洛杉矶过去达拉斯
联通去程:直连联通洛杉矶节点然后转GTT再接unitas去达拉斯
移动去程:直连移动圣何塞节点然后转cogent一路去达拉斯
电信回程:走cogent一路从圣何塞出海回国
联通回程:也是一样的走cogent从圣何塞/洛杉矶出海回国
移动回程:也是走cogent到洛杉矶,然后从移动节点直连回国
tiktok流媒体解锁测试:美区
部分跨区域的流媒体解锁测试:
北美部分流媒体解锁测试:
VPS性能测试,部分数据:
大致总结下:
VPS性能很弱,母鸡负载超高,官方估计都不鸟这些母鸡一样;
网络这块儿,回程除了移动大致是直连,其余的都是国际线路,整体来说面向国内的话不怎么推荐吧!
























































暂无评论内容