itldc这个1995年成立的保加利亚老牌主机商在捷克有自己的数据中心,运作着捷克vps(捷克云服务器)业务,默认为KVM虚拟,纯SSD raid10阵列,不限制流量。如果需要面向欧洲地区开展业务,尤其是欧洲中部地区,那么捷克是个不错的选择。本文带着大家来看看itldc的捷克vps的实际效果,测评数据仅供参考!
官方网站:https://itldc.com/
KVM虚拟,纯SSD raid10阵列,自带一个IPv4,每个VPS给100Mbps带宽(请大家看站长的测评文章为准,比如洛杉矶测试应该是1Gbps带宽),不限制流量
| 内存 | CPU | SSD | 价格 | 购买 |
| 1G | 1核 | 10G | $3.99/月 | 链接 |
| 2G | 2核 | 15G | $7.99/月 | 链接 |
| 4G | 4核 | 25G | $15.99/月 | 链接 |
| 8G | 8核 | 50G | $31.99/月 | 链接 |
| 16G | 4核 | 100G | $63.99/月 | 链接 |
| 32G | 8核 | 200G | $127.99/月 | 链接 |
不知道是什么CPU型号,主频是2.4GHz,IP归属貌似是捷克,站长启用了BBR,当前硬盘I/O大致在954MB/S的样子:
继续FIO测试硬盘读写数据的情况,大致如下:
speedtest.net在国内的三网多节点跑一下上下行带宽看看:
同样的测试,换晚高峰时间段再跑一次,数据如下:
继续跑部分国际节点,有欧美亚非:
再跑个亚洲区域内的节点给大家看看:
iperf3测试几个欧美节点,大致数据:
iperf3测试,IPv6环境下:
我们大致应该可以判断出VPS带宽至少不是100Mbps的限制了,正常状态下应该是1Gbps!
存放在测试小鸡上面的文件,广州电信家庭带宽下载速度如下:
同样的下载测速,看看晚高峰时间段的:
晚高峰,四川联通下载速度:
晚高峰,湖北十堰电信下载速度:
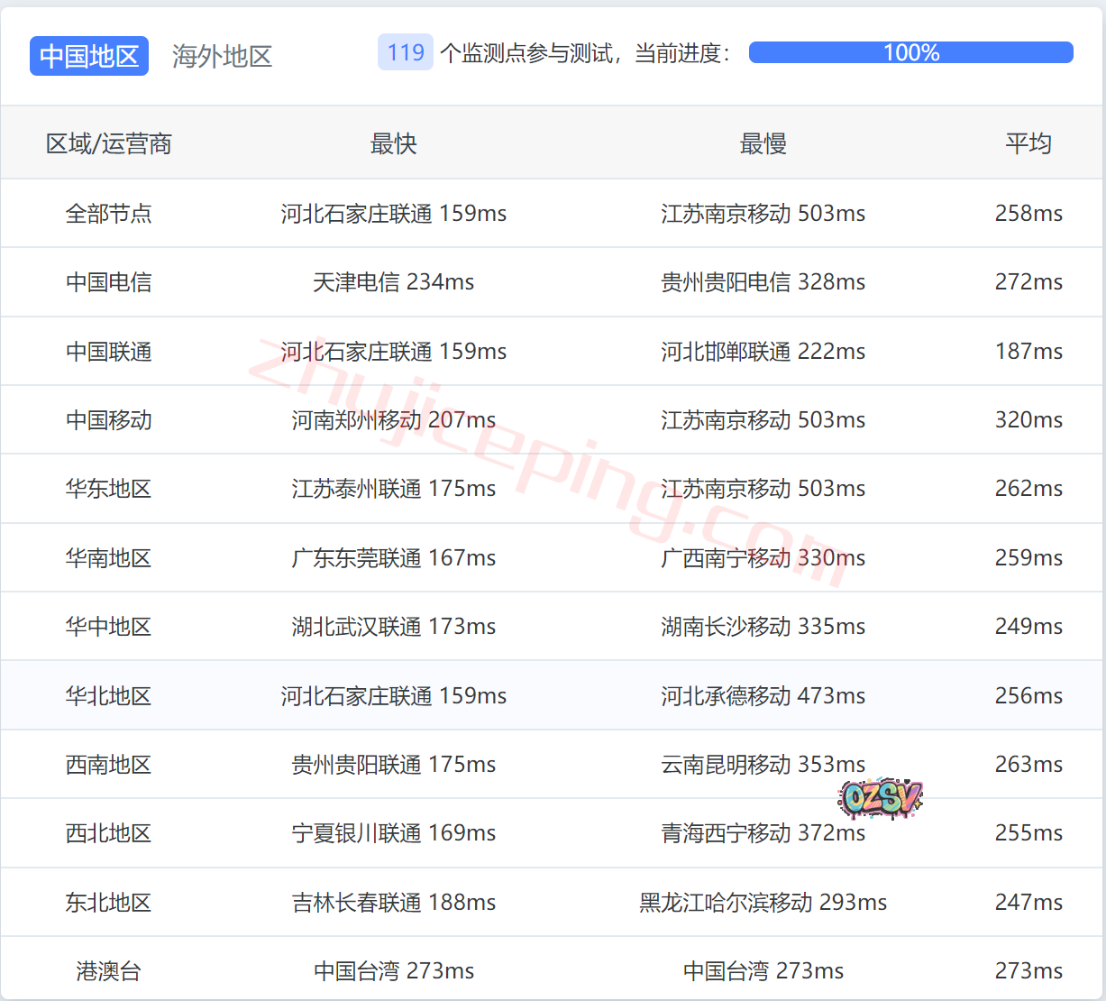
国内三网多节点延迟测试数据:
电信去程,直连电信美国圣何塞节点然后转twelve99从东海岸出去到英国然后再…
联通去程:直连欧洲联通节点然后转twelve99
移动去程:CMI直达德国转de-cix数据交换中心再转retn
电信回程:走telia到德国,从电信法兰克福节点直连回国
联通回程:走telia到德国,从联通法兰克福节点直连回国
移动回程:
北京方向:走telia经过德国、法国到美国东海岸然后去西海岸,从移动洛杉矶节点直连回国
上海方向:走telia经过德国,从移动德国法兰克福节点直连回国
广州方向:走telia经过德国、英国到美国东岸然后去西岸,接着从移动西雅图节点直连回国
tiktok流媒体解锁测试:美区,非捷克
跨区域流媒体解锁测试:
欧洲部分流媒体解锁测试结果:
VPS性能测试,部分参数看起来是相当强悍啊:
大致总结下:
VPS性能是相当强悍,不知道是所有都是这样还是恰好遇到了好母鸡;
目前网络来看,电信和联通都是从欧洲直连回国的,效果看起来还是蛮不错的,移动绕道了美国。大家把这个捷克VPS当做一个1Gbps不限流量相对适合电信和联通客户群体使用的欧洲VPS就行了。
itldc全部数据的VPS测评:
芝加哥:https://www.zhujiceping.com/59116.html
洛杉矶:https://www.zhujiceping.com/59034.html
西雅图:https://www.zhujiceping.com/59083.html
迈阿密:https://www.zhujiceping.com/59182.html
锡考克斯:https://www.zhujiceping.com/59149.html
新加坡:https://www.zhujiceping.com/59215.html
保加利亚:https://www.zhujiceping.com/59252.html
拉脱维亚:https://www.zhujiceping.com/59522.html
乌克兰:https://www.zhujiceping.com/59351.html
波兰:https://www.zhujiceping.com/59489.html
瑞士:https://www.zhujiceping.com/59456.html
荷兰:https://www.zhujiceping.com/59318.html
捷克:https://www.zhujiceping.com/59285.html



























































暂无评论内容