主机测评在cmivps并入tudcloud之前就已经测评过其美国vps( 简单测评:cmivps美国西雅图三网联通AS4837线路VPS ),由于提供三网AS4837直连回国线路,再加上免费提供20Gbps DDoS高防保护(加5美元升级到200G高防),对于建站等用途是非常不错的。时隔3年,主机测评想看看现在tudcloud管理下的这个西雅图三网AS4837+高防VPS的实际效果怎么样?依旧立足于大陆,对延迟、往返路由、早晚高峰期的带宽上下行能跑多少、IP解锁、性能跑分等进行重点关注…
官方网站:https://billing.tudcloud.com
8折优惠码:zhujiceping20 ,支持“月付、季付、半年付、年付”
7折优惠码:zhujiceping30 ,仅限年付\2年\3年付
KVM虚拟,三网强制走AS4837,默认1Gbps带宽,2*e5-2699v3、DDR4、SSD raid10、自带一个IPv4,免费提供20G高防保护(可升级200G);
8G内存给3个IPv4,10G内存的给5个IPv4
| 内存 | CPU | SSD | 流量 | 价格 | 购买 |
| 1G | 1核 | 20G | 1.5T/月 | $6/月 | 链接 |
| 2G | 2核 | 30G | 3T/月 | $11/月 | 链接 |
| 3G | 3核 | 40G | 4T/月 | $20/月 | 链接 |
| 4G | 4核 | 60G | 5T/月 | $30/月 | 链接 |
| 6G | 5核 | 80G | 7.5T/月 | $50/月 | 链接 |
| 8G | 6核 | 100G | 10T/月 | $75/月 | 链接 |
| 10G | 8核 | 150G | 20T/月 | $105/月 | 链接 |
服务器用的CPU为e5-2699v3(单路为18核心/36线程,主频2.3GHz/睿频3.6GHz),底层为KVM虚拟,站长已经启用BBR,支持IPv4&v6,上游网络提供商为spartanhost,归属地为美国西海岸西雅图,当前实测I/O大致在200MB/S:
FIO实测数据读写,大致情况如下:
国内三网多节点的带宽上下行+延迟的实测数据如下:
再看看在晚高峰期间的带宽上下行+延迟测试的数据,比白天还是有明显的下滑的:
站长广州联通家宽用Chrome直接下载存放在测试VPS上的文件,晚高峰期间的下载速度如下所示:
晚高峰,湖北襄阳电信,下载速度:
晚高峰,四川眉山联通,下载速度:
晚高峰,广东江门移动,下载速度:
IPv4环境下IPERF3多个节点实测数据的效果如下:
IPv6环境下IPERF3多个节点实测数据的效果如下:
SpeedTest.Net的部分国际节点的带宽上下行+延迟测试数据:
SpeedTest.Net的部分亚洲节点的带宽上下行+延迟测试数据:
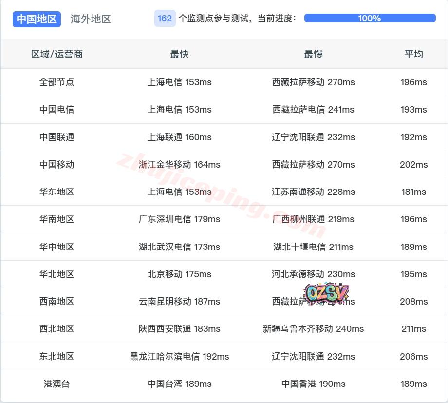
国内三网一百多个节点的延迟测试数据:
电信去程:直连电信美国洛杉矶节点然后接CNSERVERS的洛杉矶节点再去CNSERVERS的西雅图节点,或许是内网…
联通去程:联通转电信后直达洛杉矶节点,再接CNSERVERS的洛杉矶节点后去CNSERVERS的西雅图节点
移动去程:直连移动美国洛杉矶就节点然后接CNSERVERS的洛杉矶节点后去CNSERVERS的西雅图节点
电信回程:从CNSERVERS的西雅图节点出来到CNSERVERS的洛杉矶节点然后对接联通AS4837回国
联通回程:与电信一样
移动回程:还是与前面的一样
IPv4环境下,多个数据库对当前IP属性的大致判断:广播ip,能解锁tiktok、chatgpt
IPv4环境下,部分流媒体解锁的大致结果:
IPv6环境下,多数据库对当前IPv6属性的大致判断:原生美国IPv6,可解锁chatgpt,其余解锁堪忧
IPv6环境下部分流媒体解锁测试,效果堪忧:
VPS性能测试,部分跑分的情况如下所示:
大致总结下:
目前VPS所在的母鸡负载不算高,性能还可以;
IPv4为广播IP,不过可以解锁tiktok/chatgpt等;IPv6为原生美国IP,但是解锁太差;
三网去程:各自直连到自己的洛杉矶节点然后接cnservers洛杉矶节点去cnservers西雅图节点;
三网回程:从cnservers西雅图节点去cnservers洛杉矶节点,然后接联通AS4837回国;
由于cnservers在洛杉矶接入了大量的电信/联通/移动带宽,还是相当有保障的,而且还提供DDoS防御,这算是非高端线路里面比较理想的做法了。



























































暂无评论内容