justg这不是整了个几乎全网最低价格的南非cn2 gia VPS么,貌似看起来还挺火爆的,据站长了解的是有一些人买了,但是大家几乎都没有怎么说效果如何。那这里就对justg的南非cn2 gia vps给安排上测评吧。
国外VPS推荐:
https://www.zhujiceping.com/vps
美国VPS推荐:
https://www.zhujiceping.com/vps/meiguo-vps-tuijian
香港VPS推荐:
https://www.zhujiceping.com/vps/xianggang-vps-tuijian
日本vps推荐:
https://www.zhujiceping.com/vps/riben-vps-tuijian
韩国VPS推荐:
https://www.zhujiceping.com/vps/hanguo-vps-tuijian
新加坡VPS推荐:
https://www.zhujiceping.com/vps/xinjiapo-vps-tuijian
台湾VPS推荐:
https://www.zhujiceping.com/vps/taiwan-vps-tuijian
欧洲VPS推荐:
https://www.zhujiceping.com/vps/ouzhou-vps-tuijian
不限流量VPS:
https://www.zhujiceping.com/vps/buxianliuliang-vps
大硬盘VPS:
https://www.zhujiceping.com/vps/big-disk-vps
高防VPS推荐:
https://www.zhujiceping.com/vps/gaofang-vps
境外ISP/家庭住宅/原生IP系列:
https://www.zhujiceping.com/vps/isp-residential-native-ip-vps
这CPU主频来看是e5-2690?硬盘I/O大致在150MB/S的样子:
CPU线程测试,内存读写,硬盘I/O,都只能说马马虎虎:
100Mbps的带宽,从我们speedtest跑的测试结果来看应该是没有问题的:
回程,到国内电信,过59.43:
回程,到国内联通:过59.43
回程,到国内移动:也经过59.43(之前出现过只走直连)
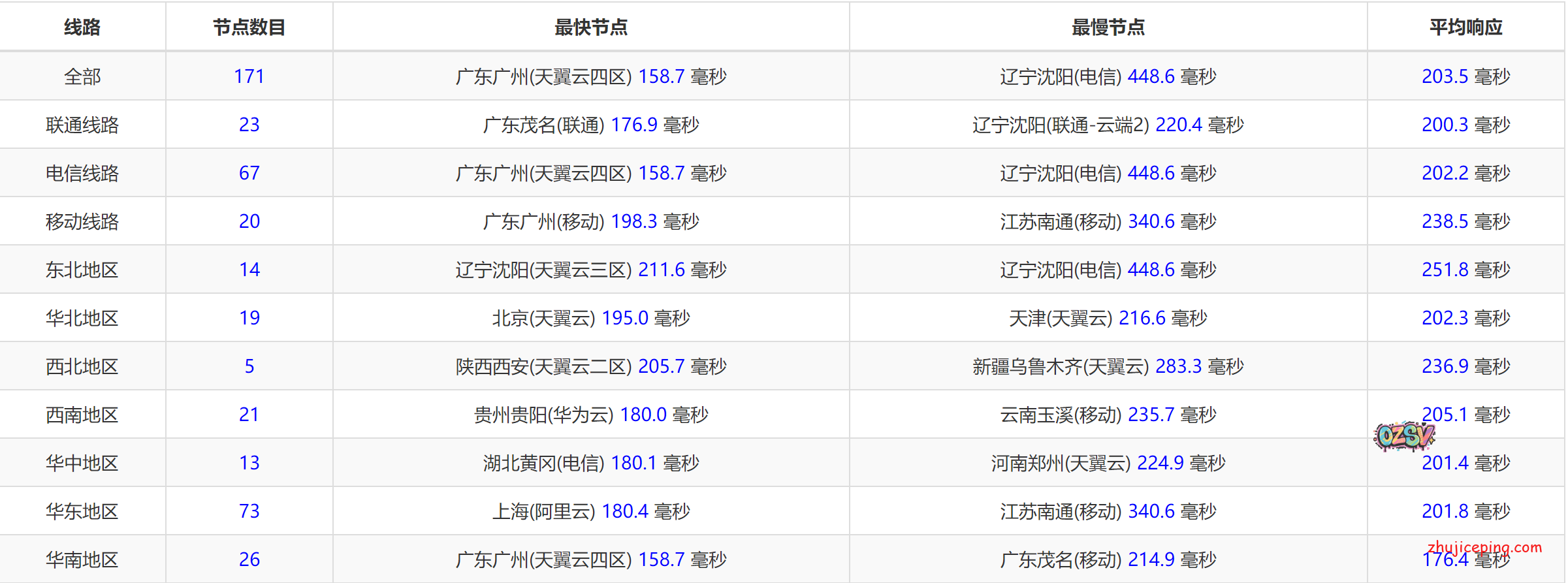
国内IPIP.NET提供的PING,所有地方的平均值大致是203毫秒,这可是中国和非洲之间:
国内去非洲的去程:电信、联通直接走59.43,移动还是万年不变的香港CMI
没有奈非账号,不然的话还可以去测试一下,有兴趣的人自己去试试顺带告诉我下!







































暂无评论内容