kvmla上了全新的数据中心,日本大阪;依旧是KVM虚拟的VPS,主机测评这里拿到了一手的VPS,给大家做个简单的测评;有兴趣的自己可以去kvmla官方网站自行查看。本人拿到的是Cloud Kvm 1G Server 标准型,1G内存,2核,官方写的50M端口,安装的是debian 64位(官方免费提供Windows server多种版本)。顺带说下优惠信息:【1】买下之后发ticket免费索取赠送1G内存,【2】9折优惠码:FJPOSAKA90,【3】充值500远额外获取130元余额,1000元额外获取300元余额。
官方网站:www.kvmla.pro,9折优惠码:FJPOSAKA90
Cloud Kvm 1G Server 标准型
- 内存:1G
- CPU:2核
- 硬盘:40G
- 流量:600G/月
- 端口:50M
- 价格:80元/月
- 购买链接
不废话,言归正传: 测试时间,6月3日晚7点30开始~
大致看看:2G内存,2核,默认swap,I/O大于480M/S,网络测试大于官方写的50M端口了
speedtest送上,看起来确实像是100M的口子:
广州联通,MTR:
广州电信,MTR:
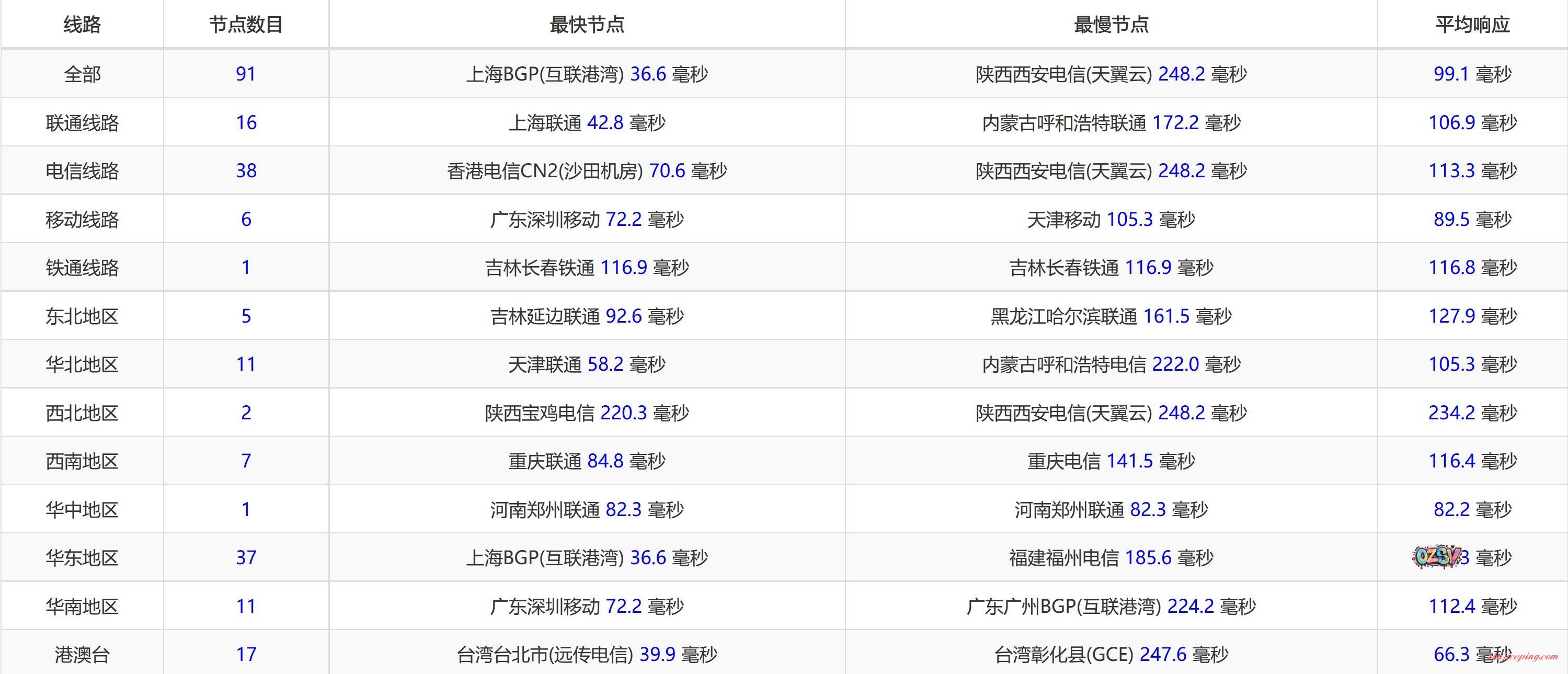
全国91个节点的PING,大致如下:
上面91个节点的访问线路:
在VPS上面看回城:
到中国联通:
到中国广州惠州电信:
在VPS上面下载QQ,平均速度1.17M/S:
我们测试下本地下载VPS上面的数据,看看大致情况:
广东、惠州、电信(主机测评的服务器):
广州、联通,20M签约带宽(实际25M):
补充一个Unix Bench:
© 版权声明
文章版权归作者所有,未经允许请勿转载。
THE END





































暂无评论内容