差不多一周前写过pumpcloud的相关HKBN机房的VPS的测评文章:pumpcloud-大带宽香港直连VPS测评/可看Netflix和TVB/有windows,据说有不少朋友觉得很好,只是一些习惯了欧美VPS的兄弟说价格贵了,不过话说回来香港的大带宽而且还直连的能买到这样的绝对是很少的。经常有些人喜欢看视频,比如Netflix和TVB视频,这里可以很明确告诉大家:100%原生香港本土IP,在pumpcloud的香港VPS上”不可描述”之后是可以直接观看的!
2018月10月消息:pumpcloud已经重组,原产品线已经不再售卖!
下面是新产品系列:
文章目录
- 1 静态香港VPS
- 2 香港动态VPS
- 3 下面开始上香港WTT机房的VPS测评数据:
- 4 看回城
静态香港VPS
每个VPS自带一个独立静态IPv4,1Gbps带宽,WTT给/112 IPv6,其余的不给IPv6
| 内存 | CPU | 硬盘 | 流量 | 价格 | 购买 | |
| WTT | 1G | 1核 | 15G | 2.5T | $35 | 链接 |
| HGC | 1G | 4核 | 20G | 5.0T | $55 | 链接 |
| HKBN | 1G | 2核 | 20G | 1.5T | $25 | 链接 |
香港动态VPS
特色:动态IP,方便切换,适合做各种任务、x等
- PLAN D-HKT-1【测试:112.120.90.254】
- 内存:1G
- CPU:2核
- 硬盘:20G
- 流量:不限
- IP:#动态#
- 带宽:200Mbps
- 价格:89.99美元/月
- 购买链接
- PLAN D-HKT-2【测试:220.246.108.254】
- 内存:2G
- CPU:4核
- 硬盘:20G
- 流量:不限
- IP:#动态#
- 带宽:1Gbps
- 价格:89.99美元/月
- 购买链接
下面开始上香港WTT机房的VPS测评数据:
先看个大概1G内存,2.2GHz的主频,2核,I/O大约160M/S左右,下载速度最高58M/s.
Unix bench 跑分,1核942,2核1755,中等偏上的样子:
speedtest测试,上传核下载
不着急,我们再来看看国内的电信、联通、移动测试的速度,CT(电信)、CU(联通)、CM(移动):
看回城
山东联通:
中国电信(走的是telstraglobal.net):
广东移动,先去了日本绕了一下,不过还能接受:
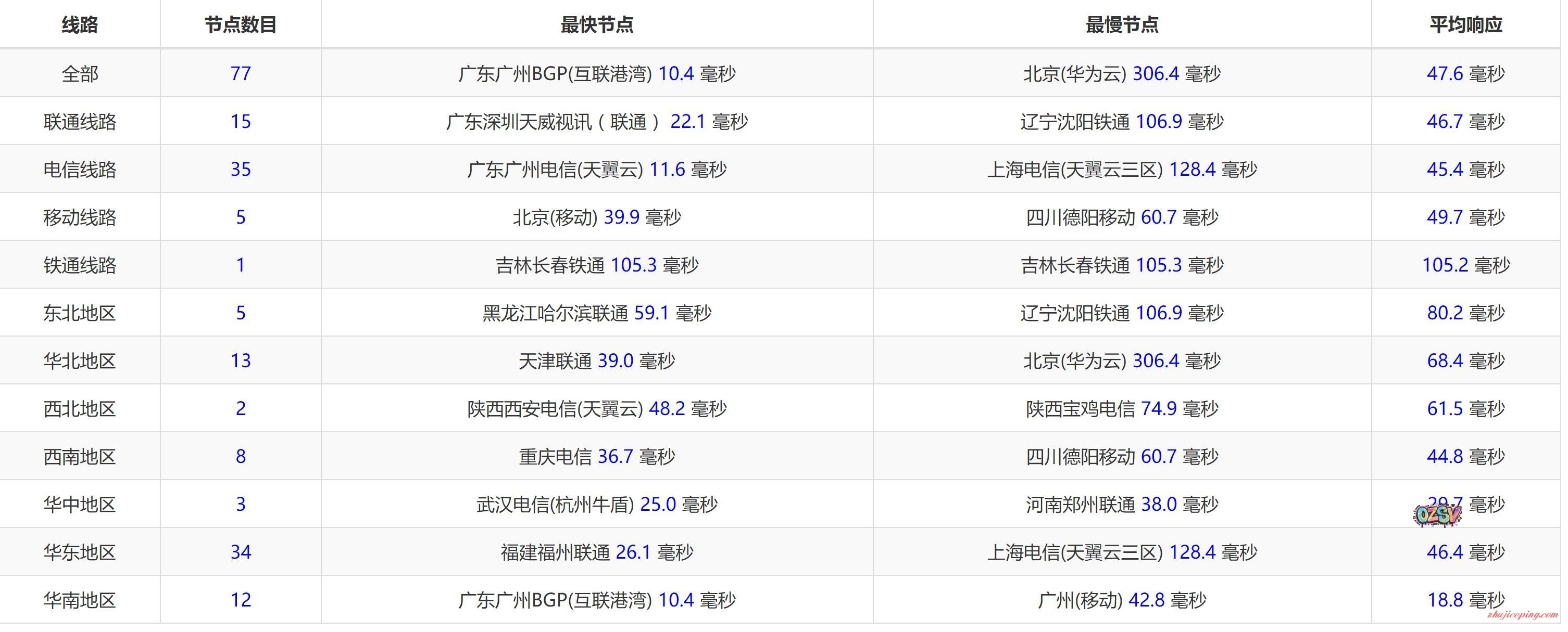
国内77个节点PING,平均值,分线路、分区域,大家仔细看看数据:
再来一个(把国内外的结合放一起看):
本人20M带宽,实际接近25M,
很多人考虑建站速度的问题,我直接撸了Nginx,放了个1G的文件,本地Chrome(无任何x加速)下载速度:
综合来看,每个月30多美元的东西,不管是”不可描述”或者是建站,都是能够胜任的,一分钱一分货的道理啊!
























暂无评论内容